讓我們簡單介紹一些適用于為背光顯示器和鍵盤供電的LED器件在電池便攜式產品中。

圖2:Richtek的RT9285高頻升壓轉換器的典型應用電路。
Richtek的RT9285是一款高頻異步升壓轉換器內置二極管,最多可支持五個白光LED,用于背光。該器件采用1 MHz固定開關頻率和4至5 W LED工作;推薦的電感值為10至22μH。在2.7至5.5 V VIN范圍內,效率高達85%。功能包括具有零浪涌的數字調光,但也可以實現PWM調光控制。通過設置電流檢測電阻來調節LED電流(5至20 mA,分5步),為了提高精度,建議使用精密電阻。
對于較大的顯示器,驅動多達11個串聯的白光LED,一根井經過驗證的解決方案是德州儀器公司的LM3530。該器件的開關頻率為500 kHz,在2.7至5.5 V輸入電壓范圍內效率為90%。 LED電流可通過I 2 C兼容接口調節,工作電壓范圍為0至29.5 mA,具有127個電流階躍和8個最大電流電平。提供帶有內部設定電阻的可編程雙環境光傳感器輸入,并且該設備支持內容調整的背光功能。提供外部PWM輸入以進行線性亮度調整。

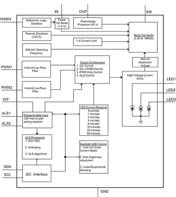
圖3:TI LM3532基于升壓的LED驅動器的功能框圖。
《 p》更高版本的LM3532設計用于驅動三個并聯的高壓LED串,電壓為40V。具有相同的規格,聲稱效率高達90%,它提供三個高壓,低電壓的電源。側電流吸收并使用自適應電流調節方法來支持每個電流吸收器中的不同LED電流。
調光技術的進一步發展產生了TI的LM3697;再次使用升壓轉換器驅動多達三個并聯的高壓LED串,但這次采用11位指數調光。結果是亮度級別之間的轉換更均勻。有趣的是,該設備提供兩種開關頻率設置。在500 kHz時,由于降低的開關損耗,在較輕負載條件下效率被認為更好。在此模式下,電感必須介于10和22μH之間。但是,在1 MHz時,效率在較高負載條件下得到優化,從而降低了MOSFET和電感器的導通損耗。在這種情況下,電感值可以介于4.7和22μH之間。
可穿戴設備的降壓 - 升壓
可穿戴設備和超低功耗設備可以從不同的方法中受益。 Richtek建議使用電荷泵設備,例如不需要外部電感的RT9361A,或降壓 - 升壓拓撲。當電池電壓低于穩壓輸出電壓值時,降壓 - 升壓可延長電池壽命。該公司的RT6150A/B值得在此進行調查。 Intersil還專注于可穿戴設備的電源管理設備,并推薦降壓 - 升壓。查看ISL91110,聲稱對于最大限度地提高單節鋰離子電池的能量利用率非常有用,該電池在低于系統電壓的電壓下具有顯著的容量。
結論
最大化電池生命仍然是便攜式設備設計者的首要考慮因素,這些設備將用于蓬勃發展的物聯網市場。最小化點亮顯示器所需的功率是一個關鍵目標。基于Boost的LED驅動器可以做出有價值的貢獻,但設計人員需要了解效率,開關頻率,電感器尺寸和元件數量方面的權衡,這將取決于特定應用中預期的負載水平。
容-源-電-子-網-為你提供技術支持本文地址:http://www.gsdpw.cn/led/15504514173172.shtml
本文標簽:
猜你感興趣:
BMS電池管理系統的智能守護者:YSO110TR高精度全溫范圍
電壓有源晶振 YSO110TR的優勢在于其高精度和穩定性。10MHz的頻率下,其全溫范圍內總頻差僅為±30PPM,這意味著即使在嚴酷的環境條件下,晶振的頻率波動也非常小,保證了BMS系統的高精度控制和穩定性。無論是在高溫還是低溫環境中,YSO110TR都能保持可靠的性能,為電池管理系統提供持久穩定的時鐘信號
關鍵詞: 所屬欄目:電子基礎
PL5358 單電池鋰離子/聚合物電池保護集成電路
關鍵詞: 所屬欄目:元器件知識
PL7501C 雙節鋰電池充電管理芯片
關鍵詞: 所屬欄目:元器件知識
PL7501CL 雙節鋰電池充電管理芯片
關鍵詞: 所屬欄目:元器件知識
PL7152 雙節可充電鋰電池保護電路
關鍵詞: 所屬欄目:元器件知識
PL5353A 單電池鋰離子/聚合物電池保護集成電路
關鍵詞: 所屬欄目:元器件知識
PL7022/B 雙節可充電鋰電池保護電路
關鍵詞: 所屬欄目:元器件知識
液晶顯示驅動芯片VK1072B/C/D液晶驅動IC原廠/適用醫用
關鍵詞: 所屬欄目:開關電源電路圖
M12266 Type-C輸入3-6節鋰電池同口充放電管理移動電源
深圳市永阜康科技有限公司現在大力推廣一顆內置PD3.0/QC3.0等主流快充協議、3-6多節鋰電池移動電源雙向100W快充IC-M12266,配合極簡的外圍電路,即可實現常見便攜電子設備的Type-C快充需求。
關鍵詞: 所屬欄目:電源電路
IU5207/IU5208 Type-C輸入升壓型2/3節鋰電池快充IC解
針對2/3節鋰電池供電的電子設備,最好的方式是采用通用Type-C接口充電,這樣就可以通用Type-C的充電器,便攜式移動電子設備出廠時搭配一根充電線就完美的解決上述應用的困擾,節省終端產品整機成本,避免材料的浪費。深圳市永阜康科技有限公司推出針對2/3節鋰電池充電應用,大力推廣Type-C輸入升壓型2/3節鋰電池快充IC系列-IU5207/IU5208,芯片極具性價比,應用簡單。
關鍵詞: 所屬欄目:電源電路
單路水位檢測芯片VK36W1D單鍵觸控感應芯片
產品特點:VK36W1D具有1個觸摸檢測通道,可用來檢測水從無到有和水從有到無的動作。該芯片具有較高的集成度,僅需極少的外部組件便可實現觸摸按鍵的檢測。 提供了1路開漏輸
關鍵詞: 所屬欄目:元器件知識
TP4055 500mA 線性鋰離子電池充電器
描述
TP4055 是一款完整的單節鋰離子電池充電器,帶電池正負極反接保護,采用恒定
電流/恒定電壓線性控制。其 SOT 封裝與較少的外部元件數目使得 TP4055 成為便攜式應用的理想選擇。TP4055 可以適合 USB 電源和適配器電源工作。
由于采用了內部 PMOSFET 架構,加上防倒充電路,所以不需要外部檢測電阻器和
隔離二極管。熱反饋可對充電電流進行自動調節,以便在大功率操作或高環境溫度條件下對芯片溫度加以限制。充滿電壓固定于 4.2V,而充電電流可通過一個電阻器進行外部設置。當電池達
關鍵詞: 所屬欄目:集成塊資料
TP4054 線性鋰離子電池充電器
概述
TP4054 是一款完整的單節鋰離子電池采用恒定電流/恒定電壓線性充電器。其 SOT
封裝與較少的外部元件數目使得 TP4054 成為便攜式應用的理想選擇。TP4054 可以適合USB 電源和適配器電源工作。
由于采用了內部 PMOSFET 架構,加上防倒充電路,所以不需要外部檢測電阻器和
隔離二極管。熱反饋可對充電電流進行調節,以便在大功率操作或高環境溫度條件下對芯片溫度加以限制。充電電壓固定于 4.2V,而充電電流可通過一個電阻器進行外部設置。當充電電流在達到最終浮充電壓之后降至設定值
關鍵詞: 所屬欄目:集成塊資料
鋰電池、鉛酸電池供電的戶外藍牙音箱如何選擇合適的升
深圳市永阜康科技有限公司一直致力音頻領域芯片的推廣,總結市場應用痛點,現推薦一套升壓+功放IC搭配應用組合,涵蓋20-60W單雙聲道的應用。升壓芯片、功放芯片系列管腳兼容,實現同一PCB,不同功率要求無縫切換,避免重復開發工作,縮短項目周期。
關鍵詞: 所屬欄目:音頻功放電路
M12229 雙節串聯鋰電池充放電管理的35W移動電源雙向快
現在市場上一般采用升降壓型充電管理芯片+快充協議芯片來實現,應用設計及外圍比較復雜。深圳市永阜康科技有限公司現在大力推廣一顆內置PD3.0/QC3.0快充協議升降壓型35W兩節鋰電充放電SOC芯片-M12229,輸入電壓3.3V-20V,最大充電電流5A,最大輸入/輸出功率35W,適用于雙節串聯大容量鋰電池的快速充電場合。
關鍵詞: 所屬欄目:電源電路
IU5302 充滿轉燈截止電壓可調的2A單節磷酸鐵鋰電池/鋰
現在市場上常見的充電芯片,恒壓充電電壓(俗稱轉燈電壓、充滿截止電壓等)一般是固定的。如鋰電池的充電管理芯片一般為4.2V,磷酸鐵鋰電池的充電芯片一般為3.6V,無法滿足各種不同類型電池的充電應用。深圳市永阜康科技有限公司總結充電管理芯片的應用痛點,大力推廣一款2A同步降壓型充電管理IC-IU5302,恒壓充電電壓可調(2V-5V)、可以滿足單節磷酸鐵鋰電池、鋰電池及其它類型電池的充電需求。
關鍵詞: 所屬欄目:電源電路
ACM3108/ACM3128/ACM3129立體聲D類功放芯片系列動態調
深圳市永阜康科技有限公司現在大力推廣具備動態調整升壓CLASS H功能的D類功放芯片系列-ACM31XX系列,功率覆蓋單聲道10W-100W、雙聲道2*10W-2*50W,供電滿足1-5串鋰電池及鉛酸電池的應用,能夠保證足夠功率輸出及音質體驗的前提下,極大延長電池的續航時間。
關鍵詞: 所屬欄目:音頻功放電路
三種解決方案為LED照明散熱設計添磚加瓦
關鍵詞: 所屬欄目:led
LED照明燈具散熱,TIR導熱石墨片輕松解決
對于LED來說,散熱系統是必不可少的,所以一個好的導熱介質是決定LED照明好壞的關鍵之一!兆科提供導熱石墨片可使用在LED芯片的背面,另一面貼近散熱片或LED外殼,通過導熱石墨片的高熱傳導將熱量迅速傳導至LED外殼,通過空氣的流動達到導熱散熱效果。
關鍵詞: 所屬欄目:led
LED調光器是怎么調光的?
關鍵詞: 所屬欄目:開關電源電路圖